18-8ステンレス製 手アミ式 角型 カス揚げ 細目 (40メッシュ)
18-8ステンレス製 手アミ式 角型 カス揚げ 細目 (40メッシュ)
配送料は全国一律 500円となります。
北海道・沖縄離島は1500円の送料となります。
※配送区分【E】~【I】は大型梱包の為別途送料が掛かります
(【E】~【I】は各商品名の末尾に記載)
※離島へのお届けは、実際の送料に基づき
ご注文後に送料を調整させていただく場合がございます。
受取状況を読み込めませんでした
送料について
送料について
配送料は全国一律 500円となります。
北海道・沖縄・離島は 1,500円となります。
⇒配送ポリシー
※配送区分【E】~【I】は大型梱包のため別途送料が掛かります。
(区分は各商品名の末尾に記載)
【配送先が離島の場合】
・システムの都合上、チェックアウト時には通常送料が表示されます
・ご注文確認後、正確な送料をご案内いたします
・内容をご承認いただいた後にご請求となります
・追加送料のご入金確認後、出荷手配となります
・ご案内メールの期日を過ぎた場合、ご注文はキャンセルとなります
※当店ではご注文内容確認後に決済確定(オーソリ承認)を行います。
キャンセルとなった場合でも、ご請求が発生することはございません。
同梱・商品の変更 追加・キャンセルについて
同梱・商品の変更 追加・キャンセルについて
・システム上複数のご注文を合わせる事が出来ません。
・受注確定前(【エビスヤカナモノテン.COM】 受注確認メール 受信前)に追加注文される場合は問い合わせフォームにて御連絡をお願い致します。
ご注文頂きましたオーダーを一度キャンセルさせて頂きますので、改めてご注文をお願い致します。
※店舗より"【エビスヤカナモノテン.COM】 受注確認メール"が届きましたら注文をショップにて確定しておりますので、「商品の変更・追加・キャンセル」は一切お受けできません。
予めご了承下さい。
在庫について
在庫について
※欠品時のご対応について※
実店舗と在庫を共有しております。
ご注文のタイミングによっては在庫切れとなり、発送までにお日にちを頂く、または欠品となる場合がございます。
欠品が発生した場合には、当店より今後の対応についてご確認をお願いするメールをお送りいたします。
メール送信後、2~3日以内にご返信をいただけない場合は、誠に恐れ入りますが、ご注文は自動的にキャンセル処理となります。
また、大量購入をご希望の場合は、事前にお問い合わせくださいますようお願いいたします。
掲載商品について
掲載商品について
・店頭価格とECショップ価格は異なります。
・メーカー在庫状況によって、他メーカー同等品の取り扱いになる場合が御座います。その際、予告なく変更する場合が御座いますので予めご了承下さい。
天ぷらや揚げ物を揚げる際に油から食材を取り出す際に使われ、
調理中に出るカスを取り除いて、油の劣化を防ぎます。
小はご家庭でもお使いいただけるサイズです。
※オールステンレス製で丈夫。
※長時間加熱される鍋の中に差し込んだ状態だと柄部分が熱くなる
場合がありますので、ミトンなどをご使用ください。
(ステンレスは熱伝導率が良い為)
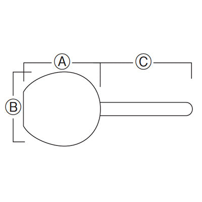
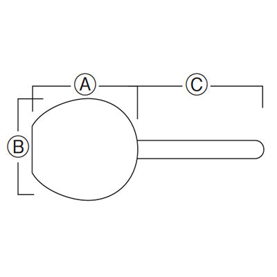
サイズ:
小 / A 12cm × B 12.8cm × C 21cm
中 / A 13.5cm × B 14.7cm × C 21cm
大 / A 15cm × B 17cm × C 25cm
網部分:40メッシュ
材質:18-8ステンレス
